El empaque de pernos hexagonales de sujeción segura está diseñado para mantenerlos organizados y evitar daños. Estas cajas de embalaje vienen con un forro suave que tiene ranuras. Los pernos se asientan cabeza con cabeza, por lo que cada perno hexagonal permanece en su lugar. Esto hace que sean rápidos de recoger y colocar y evita rayones durante el envío. Para el transporte a granel, los pernos hexagonales suelen empaquetarse en 500 piezas por bolsa. Luego, estas bolsas se colocan en cajas interiores y cajas de madera reforzadas para mantener la carga estable. Para industrias críticas, las opciones de embalaje de alta especificación pueden cumplir estrictos estándares militares. Esto puede incluir bolsas selladas, a prueba de grasa e impermeables que protegen los pernos de la corrosión durante el almacenamiento y el envío.
La calidad de un perno hexagonal muestra su resistencia. Estas marcas de calidad se encuentran en las cabezas de los pernos para una fácil identificación. Los grados ISO comunes incluyen 4.6, 8.8, 10.9 y 12.9. El grado 8.8 es un perno común de resistencia media, mientras que 10.9 y 12.9 son de alta resistencia y se utilizan en áreas exigentes como automóviles y construcción. Las normas ASTM como A307 y A325 también definen el rendimiento de los pernos. Elección del perno hexagonal de sujeción segura El grado correcto es clave para la seguridad, ya que garantiza que el perno pueda soportar la carga sin fallar.
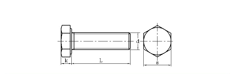
| milímetros | |||||||
| d | S | k | d | Hilo | |||
| máximo | mín. | máximo | mín. | máximo | mín. | ||
| M3 | 5.32 | 5.5 | 1.87 | 2.12 | 2.87 | 2.98 | 0.5 |
| M4 | 6.78 | 7 | 2.67 | 2.92 | 3.83 | 3.98 | 0.7 |
| M5 | 7.78 | 8 | 3.35 | 3.65 | 4.82 | 4.97 | 0.8 |
| M6 | 9.78 | 10 | 3.85 | 4.14 | 5.79 | 5.97 | 1 |
| M8 | 12.73 | 13 | 5.15 | 5.45 | 7.76 | 7.97 | 1.25 |
| M10 | 15.73 | 16 | 6.22 | 6.58 | 9.73 | 9.96 | 1.5 |
| M12 | 17.73 | 18 | 7.32 | 7.68 | 11.7 | 11.96 | 1.75 |
| M14 | 20.67 | 21 | 8.62 | 8.98 | 13.68 | 13.96 | 2 |
| M16 | 23.67 | 24 | 9.82 | 10.18 | 15.68 | 15.96 | 2 |
| M18 | 26.67 | 27 | 11.28 | 11.7 | 17.62 | 17.95 | 2.5 |
| M20 | 29.67 | 30 | 12.28 | 12.71 | 19.62 | 19.95 | 2.5 |
¿Puede explicarnos la composición del material y las opciones de protección contra la corrosión para sus pernos hexagonales de Secure Fastening?
Producimos nuestros pernos hexagonales en diferentes materiales, como acero con bajo contenido de carbono, acero de aleación más resistente y acero inoxidable (A2-304 y A4-316). Para la protección contra la oxidación, ofrecemos recubrimientos como zinc electrogalvanizado, galvanizado en caliente y Dacromet. La elección del revestimiento adecuado influye en la duración del perno, especialmente en lugares difíciles como obras de construcción o cerca del mar.
